Разновидность швейных игл
Бытовые швейные машины в основном работают с иглами стандарта 130/705H.
Бытовые 2/3/4 ниточные оверлоки используют иглы 130/705H.
В коверлоках и плоскошовных машинах используются иглы стандарт HAx1SP.
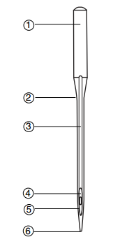
На рисунке показаны основные части иглы:
- Колба
- Стержень иглы
- Длинный желобок (округлая часть иглы)
- Короткий желобок (плоская сторона иглы)
- Ушко
- Острие

Иглы различаются
- Заточной острия
- Размером ушка
- Толщиной стержня иглы